由于农用烘干机种类繁多(如横流式、混流式、顺流式、逆流式等),每种的结构都有所不同,但它们都遵循一个基本的工作原理:利用热空气作为干燥介质,通过强制对流的方式,将热量传递给湿物料,同时带走物料中的水分,从而实现干燥。
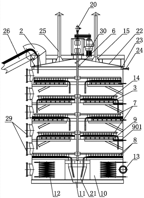
下面,我将首先为您展示一个通用农用烘干机结构示意图,然后对各个核心部件进行详细说明,并补充介绍几种主流烘干机的结构差异。

通用农用烘干机结构示意图 (简图)
这是一个典型的、以热风炉为热源的连续式混流烘干机结构示意图,它包含了大多数烘干机的核心组成部分。
[ 排湿风机 ]
↑
|
[ 热风炉 ] -----> [ 热风管道 ] -----> [ 进料口 ]
|
↓
[ 湿粮提升机 ] <---- [ 粮食流动方向 ] <---- [ 烘干塔主体 ]
↑ |
| |
[ 储粮仓 ] |
| |
| ↓
+------------------------------------ [ 出料口 ]
|
↓
[ 冷却段 / 出粮提升机 ]
|
↓
[ 干粮储仓 / 接粮斗 ]
核心部件详解
上图中的每个部分都是一个关键系统,下面我们逐一拆解:
烘干塔主体
这是烘干机的核心工作区,也是结构图中最复杂的部分,它内部充满了角状通风盒,这些通风盒是热风和冷风的通道,同时也是粮食流动的“骨架”。
- 结构:塔体通常由钢板焊接而成,内部由多层角状通风盒交错排列,形成“S”形或“之”字形的粮食流动通道。
- 工作原理:
- 热风进入:热风从一侧或中间的角状通风盒进入塔内。
- 粮食流动:粮食从顶部的进料口均匀进入,依靠自身重力,在角状盒之间缓慢向下流动。
- 热交换:在流动过程中,热风穿过粮食层,与粮食进行充分的热量和湿气交换,热风被冷却,变成湿热空气;粮食被加热,水分蒸发。
- 湿空气排出:携带大量水分的湿热空气从另一侧或对角的角状通风盒排出塔外,由排湿风机抽走。
- 粮食流出:经过干燥的粮食继续向下流动,最终从底部的出料口排出。
热源系统
为烘干提供热量的部分,主要有两种类型:

-
A. 燃烧热风炉
- 结构:包括炉膛、换热器、鼓风机等。
- 工作原理:燃烧煤、生物质(秸秆、木屑)、天然气或燃油等燃料,产生的高温烟气通过换热器,将新鲜空气加热,干净的、被加热后的空气作为干燥介质被送入烘干塔。
- 优点:燃料来源广,成本相对较低。
- 缺点:需要处理燃烧后的废气和灰分,对环保有一定要求。
-
B. 空气源热泵
- 结构:由压缩机、蒸发器、冷凝器、膨胀阀等组成。
- 工作原理:类似于空调的逆过程,从周围空气中吸收低品位热量,通过热泵循环将其提升为高品位的热能,用于加热空气。
- 优点:能效比高(消耗1度电可以产生3-4度电的热量),运行成本较低,环保无污染。
- 缺点:初期投资成本较高,在极寒环境下效率会下降。
输送系统
负责物料的进出和塔内循环。
-
进料系统:
- 湿粮提升机:将待干燥的粮食从储粮仓提升到烘干塔顶部的进料口。
- 进料器:位于塔顶,负责将粮食均匀地分布到烘干塔的整个横截面上,防止“跑偏”和干燥不均。
-
出料系统:
- 出料口:位于塔底,是干燥后粮食的出口。
- 出粮提升机:将干燥后的粮食从塔底提升,送往冷却段或直接送入干粮仓。
- 排粮装置:位于塔底,通过旋转或振动控制粮食的流出速度,从而精确控制粮食在塔内的停留时间(即烘干时间)。
通风与排湿系统
控制气流方向和速度,是保证烘干质量和效率的关键。
- 循环风机:将热源系统产生的热风强制送入烘干塔,确保热风能够穿透粮层。
- 排湿风机:将塔内携带水分的湿热空气抽出,排向大气,通过调节排湿风机的风门开度,可以控制排湿量,从而间接控制烘干段的温度和湿度。
冷却系统
干燥后的粮食温度较高,如果直接储存,会导致粮堆内部结露,霉变,因此必须进行冷却。
- 位置:通常安装在烘干塔的出料口之后,或者在烘干塔的底部设有专门的冷却段。
- 原理:使用常温或略低于常温的空气(通常用大气)穿过热粮,带走热量,使粮温降至接近或略高于环境温度。
- 注意:冷却过程不能太快,否则粮食表面会因温度骤降而结露,反而引起变质,通常采用“缓苏冷却”工艺,即先让粮食在塔内停留一段时间(缓苏),再进行冷却。
控制系统
现代农用烘干机的大脑。
- 传感器:安装在塔内不同位置,用于实时监测粮食温度、湿度、热风温度等关键参数。
- 控制器/PLC:接收传感器的信号,并根据预设的烘干程序(如“玉米烘干曲线”、“水稻烘干曲线”)自动调节热源火力、风机转速、排粮速度等。
- 显示屏/人机界面:操作人员可以直观地看到所有运行数据,并设置和修改烘干参数。
不同类型烘干机的结构差异
不同类型的烘干机,其核心区别在于热风与粮食的相对流动方向,这决定了它们的结构特点和适用场景。
横流式烘干机
- 结构:最常见的一种,热风从一侧的角状盒进入,横穿整个粮层,从另一侧的角状盒排出,粮食从上至下垂直流动。
- 优点:结构简单,制造成本低。
- 缺点:干燥不均匀,靠近热风入口的粮食先接触高温,容易“过干燥”;而靠近出口的粮食则干燥不足,通常需要后续的“缓苏”过程来平衡水分。
- 适用:对干燥均匀性要求不高的粮食,如种子、饲料等。
混流式烘干机
- 结构:热风盒的排列方式使得热风和粮食的流动方向是“顺流”和“逆流”交替进行的,热风向下吹(顺流),然后向上吹(逆流),再向下吹...
- 优点:干燥均匀性好,热利用率高,对粮食品质损伤小,是目前市场上的主流机型。
- 缺点:结构相对复杂,制造成本略高。
- 适用:对烘干品质要求高的粮食,如商品粮、种子粮等。
顺流式烘干机
- 结构:热风和粮食都从塔顶向下流动,高温热风首先与最冷的、最湿的粮食相遇,此时传热传质效率最高,随着粮食下落,温度降低,热风温度也随之降低。
- 优点:烘干速度快,热效率高,特别适合高水分粮食的烘干。
- 缺点:塔体较高,设备投资大。
- 适用:大型农场、粮食收储企业,用于处理初始水分极高的粮食。
逆流式烘干机
- 结构:热风从塔底进入向上流动,而粮食从塔顶进入向下流动,两者方向相反。
- 优点:热能利用效率极高,因为最热的干热风接触的是最干、最热的粮食,热量交换充分;而最冷的湿热风接触的是最湿、最冷的粮食,避免了粮食过热。
- 缺点:结构复杂,设备投资最高,操作要求也高。
- 适用:大型专业化烘干中心,追求极致能效和品质的场合。
一张农用烘干机的结构图,实际上是一个由热源、塔体、输送、通风、冷却、控制六大系统组成的有机整体,理解了每个部分的功能以及它们之间的协同工作原理,就能看懂任何一张具体的结构图,在选择和使用时,应根据自身处理的物料种类、处理量、资金预算和对烘干品质的要求,来选择最合适的机型和结构配置。
标签: 农用烘干机核心部件结构图 农用烘干机主要部件结构解析 农用烘干机关键零部件结构图解